抗干扰异频介损测试仪绝缘油介损接线
抗干扰异频介损测试仪可以接很多设备,说明它是一种很常用的设备,下面和合众电气来看抗干扰异频介损测试仪绝缘油介损接线。
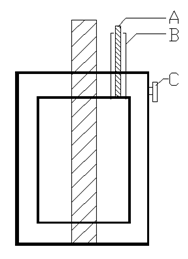
1、此时杯体为高压,注意安全;
2、正接法
3、HV用红色高压线
4、Cx用黑色测试线,屏蔽层接油杯地
5、电压2kV
6、(C高压)接HV
7、(A测试)接Cx
8、(B屏蔽)接地
以上是抗干扰异频介损测试仪绝缘油介损接线,需采购,找合众电气,专业十八年经验。
1、此时杯体为高压,注意安全;
2、正接法
3、HV用红色高压线
5、电压2kV
6、(C高压)接HV
7、(A测试)接Cx
8、(B屏蔽)接地
以上是抗干扰异频介损测试仪绝缘油介损接线,需采购,找合众电气,专业十八年经验。
- 上一篇: 抗干扰异频介损测试仪的装箱清单
- 下一篇: 绝缘油介电强度测试仪界面设置举例





